根据中国工程建设标准化协会《关于印发 (2019年第一批协会标准制订、修订计划〉的通知》(建标协字[2019]12号)的要求,由河北锥基土木工程有限公司、中国铁路设计集团有限公司牵头起草的中国工程建设协会标准《挤排土变径桩技术规程》在广泛征求意见的基础上,己完成送审稿。经研究,定于2022年9月28日在北京市召开(送审稿)审查会。
会议将于9月28日(星期三)上午9:00正式开始,会期一天。会议采用线上线下相结合的方式召开。会议地点:北京市东城区北三环东路36号环球贸易中心D座503会议室。
挤排土变径桩作为一种新桩型,具有竖向抗压承载力高、沉降小、质量可靠、造价低、可实现单机一体化施工等特点。它是参考已有的倒锥台阶型桩发展而来的。
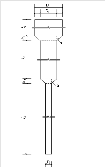
挤排土变径桩构造:

D1、D2、D3—自上而下第一、第二、第三段桩身的直径;
l1、l2、l3—自上而下第一、第二、第三段桩身的长度;
h1、h2—自上而下第一、第二倒圆台的高度;a—倒圆台角
挤排土变径桩结构示意图
长螺旋钻孔泵压混凝土桩工艺多年来应用于工业与民用建筑工程和市政工程项目。挤排土变径桩工艺采用的钻具改进了长螺旋钻孔机械,是一种复合叠加相套钻具,压灌混凝土。挤排土变径桩的桩型和工法作为一种创新先进施工技术,曾在不同行业的工程中得到应用。
挤排土变径压灌桩工艺具有因地制宜地挤土、部分挤土和排土的功能,可充分发挥与提高不同土层的承载力。
挤排土变径桩施工采用全排、全挤及上挤(部分挤)下排复合工法的,钻孔次序均为由内到外依次钻进成孔;施工采用上挤下排及上排下挤复合工法的,钻进成孔次序由上到下依次陆续成孔。叠加复合套筒钻具依次钻进至各自设计深度后停钻,压灌混凝土开始,边压混凝土边提钻,提钻次序中心钻具→中间套筒钻具→外套筒钻具,依次陆续同步提升,中心钻具底端与中间套筒钻具底端平齐后,两钻具同时同步提升,两钻具底端与外套筒钻具底端平齐后,三钻具同时同步提升,直到提出孔口标高,同时混凝土压灌至设计标高。
边压混凝土边提钻,保持泵速与提钻速度相匹配,标准为芯管内混凝土面在提钻压灌时,始终保持有效高度达到压灌目的,才能保证桩身内压力不小于桩孔壁土体压力,防止桩身缩径、断桩等不良现象发生。混凝土压灌控制,钻具依次陆续同步提升,压灌的同时钻具对孔壁时时有效的支护,避免出现钻头“悬空打砼”,由此保障了桩身质量完好。为实现合理控制混凝土施工损耗系数情况下更有效压灌混凝土,保证桩身质量及施工桩顶标高标准化,建议混凝土压灌工艺采用芯管内混凝土面高度感应装置,指导规范施工。
在不同地层挤排土变径桩打桩压灌时尤其复杂地层(液化层、流塑—软塑状态黏土层、流砂层等),混凝土压灌工艺采用芯管内混凝土面高度感应装置应用经验的积累,在保证桩身质量的前提下尽量节约混凝土用量,制定标准的操作流程,实现自动化与信息化,统一合格标准模式,杜绝靠声音定位,凭经验大概、模糊、差不多的操控态度,造成桩身质量参差不齐,混凝土过多浪费。

目前我国正处于国民经济高速发展时期,工矿企业建设、城市化和基础建设,在国家政策支持下快速跃进发展,尤其高速铁路和高速公路建设规模庞大,有很大发展空间。在土木建筑工程项目中,桩基和地基处理工程所占比例较大。与其他桩型相比较,挤排土变径桩技术在桩基和复合地基中,高承载力、低沉降量、快工效,使经济、社会效益十分显著。在地基处理中工程成本能够降低20%左右;由于施工工法得以完善,松挤密排的土工理念得以实现,密土旋排至松土中被挤压挤扩,分层消纳,因此具有无弃土或少量弃土排放、无建筑扬尘等优点,实现了节能减排、绿色环保的目标。可以预料,这项挤排土变径桩新技术在拥有全国性技术标准后,可将“挤排土变径桩”专利技术推广到一个新的高度和广度,使此桩型及工法的优点(高质量、高速度、高价值)充分体现出来。该专利技术会推进传统地基处理技术,闲置陈旧设备改造重新走向工程市场应用,物尽其用,发挥其价值,并能够为我国在节约工程建设成本、节能减排和绿色环保方面贡献一份力量。
回到顶部
0371-64038392
QQ客服